科技·商业·财经

福莱蒽特等成立双曲线智能机器人公司

   时间:2026-01-01 16:01 作者:企查查

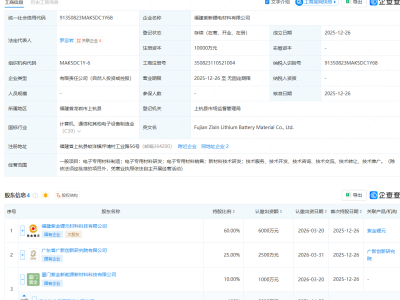
企查查APP显示,近日,双曲线智能机器人(杭州)有限公司成立,注册资本1000万元,经营范围包含:智能机器人销售;服务消费机器人制造;服务消费机器人销售;可穿戴智能设备制造等。企查查股权穿透显示,该公司由福莱蒽特(605566)等共同持股。

 
 
更多>同类内容
全站最新
热门内容